Switch machine wiring issue

Hope I can explain this clearly. I have a turnout that needs to be able to operate from two locations. Installing the two toggles is easy enough and that works fine. Here is the issue: One of the toggles is out of sight of the turnout (across the layout) so I have tried to make a panel with leds on the remote side. When the turnout is set for “mainline use” the proper led lights up and only that led is lit. When I throw the turnout for the diverging route both leds light up. Can someone assist me here? Thank you

Old Fat Robert

A lot depends on what type of switch machine it is.

I use Tortoises and they are pretty simple to set up for ‘remote’ locations. Especially since the LEDs can be in series with the operating circuit and bicolor LEDs will show the proper point orientation. I use this arrangement:

Tortoise-again by Edmund, on Flickr

Note, if you want indicator LEDs at the ‘remote’ location simply duplicate the arrangement on the left (main) panel.

If you use twin coil machines you’ll have to wire the LEDs with resistors and use something like an Atlas ‘Snap’ relay to provide the outputs to illuminate the correct LED.

Regards, Ed

2 Likes

I have the same problem I think I need an expert to help me fix this because I have a snap relay and it is forcing my locomotive to spad. The signal head for the main is supposed to be green the signal for the siding is supposed to be red and then when I throw it on the siding side both signals are red it’s supposed to change the green when the switch is thrown and red if that siding is occupied. I think I might know what the culprit is most likely candidate is the interlocking control wires are upside down and connected to the wrong boards. If that is not it I probably have a short circuit on the relay wires leading into the interlocking control module. If all else fails I’m going to have to resort to plan B and that will mean I’m going to have to pull that relay off and put a new one in there and rewire everything from scratch.

Can somebody please bring up Atlas schematic 9A for the snap relay and also schematic 2R for the interlocking control module? I need to know if I wired these correctly. Most likely candidate for what’s going on is I either have a jumper problem that is on the boards or I probably have a relay problem that will either require me to pull the power leads off or I’m going to have to rewire the contacts on the interlocking control module. If it is jumpers I’m going to have to pull all of the jumper leads on the signal attachment cables and put the correct ones in there which are shorts. If it is aspects I’m going to have to find the atlas signal control book and I’m going to have to reset the jumpers back to their defaults. If it is freeway I’m going to have to replace the relay with a spare that I got that I was going to save for my ho layout. I have a feeling the issue is relay. The relay is mounted directly underneath the switch in the bottom of that thing is metal most likely the magnet has been magnetized with means I’m either going to have to insulate the underside of the layout or I’m going to have to move the relay to another spot so the turnout above it does not get magnetized. On the code 80 turn out that I just replaced the switch motor was located somewhere else and not directly underneath but I had to disconnect all the leeds when I installed a switch. Most likely this is going to be the relay.

The bottom of this thread has the Snap Relay diagram:

Good Luck, Ed

1 Like

Thank you. I am using a tortoise machine. I had the two toggles/leds connected by three wires.

Well, the DC input is only two wires and the Tortoise is only two wires (pins 1 and 8).

So all you’re doing is reversing plus or minus each time you want to ‘throw’ the points. You can have ANY number of ‘cross-wired’ DPDT reversing switches between the source and the Tortoise for ‘remote’ locations.

I have a few that require up to four LEDs in series with the power lead. Each LED reduces the available current to the Tortoise so if you have more than a few you might have to bump up your supply voltage to overcome the drop, or live with a very slow Tortoise.

Some two-wire LEDs can simply be placed in series on One Side of the circuit. A bi-color LED simply has two ‘back-to-back’ LEDs inside the capsule. Of course you can use single LEDs wired cathode to anode as the Tortoise wiring diagram shows.

Regards, Ed

1 Like

Thanks for that diagram, Ed. :+1:

1 Like

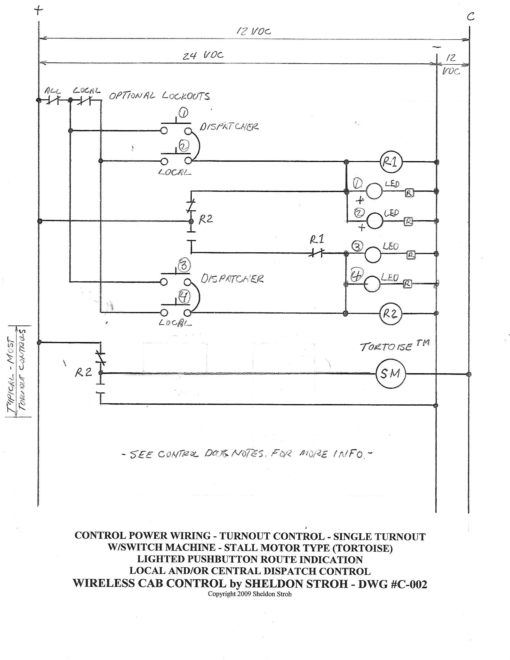
Or, you can do it like this with push buttons and two relays. I use lighted push push buttons mounted in the track diagram.

You push the button for the desired route, the turnout changes and the buttons light up at both locations.

Sheldon

1 Like

Thanks you just made my day easier. I know what’s wrong. I need to attach the relay and the switches to the old Lifelike power supply and I need to attach the signal system to the Tech 2 with the track.

And I think I identified problem number two on my list BD20s are not even hooked up. I’m going to have to go through the ICM manual the power supply is going to have to be wired to the ICM, the signals are going to have to be wired to the wagos, and the atlas relay module and the BD twenties are going to have to be wired to their own boards and the track jumpers are going to have to run through the BD 20s and the atlas relay module and then connected to the terminal strip first and then connected to the atlas selector plate and the terminals are going to have to be wired in the correct order. And that order is block 1 intermediate, block 2 upper head, block 3 siding, block 4 switch. And block 5 disconnected for now until I can get another BD 20 and I can build my next two sidings. That address problem number two problem number three is I’m getting dead drop on the switch. Most likely candidate for this is I have dead rail from the switch all the way to the block one insulator the solution to this problem is I need to power that rail.

Just want to take a moment to thank Ed for his help in solving my problem. I made a mockup arrangement using Ed’s schematic and it worked perfectly. Thanks again.

Old Fat Robert

2 Likes